DEHN ITALIA SPA - DEH767720 Rilevatore di tensione PHE III 20 kV 50H z categoria S

Accedi per visualizzare prezzi e disponibilità
Caratteristiche principali
Tensione nominale - 20...20 kV
Tipo di indicazione - Ottico e Acustico
Modello - 1 polo
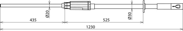
Profondità di immersione - 435 mm
Utilizzabile in caso di pioggia - sì
Confezione
1 PZ
EAN
4013364070844
Codice prodotto
DEH767720
Cod. produttore
767720
Produttore
DEH
Tensione nominale:
20...20 kV
Tipo di indicazione:
Ottico e Acustico
Modello:
1 polo
Profondità di immersione:
435 mm
Utilizzabile in caso di pioggia:
sì
Tipo di tensione:
AC
Con auto-test:
sì
Utilizzo:
Impianti interni ed esterni
Applicazione:
Sottostazioni e Linea aerea
Categoria:
S
Rivelatore di tensione capacitivo di tipo composto secondo EN/IEC 61243-1 (CEI 11-45, DIN VDE 0682-411) per la verifica omnipolare di assenza tensione della zona di lavoro secondo EN 50110-1 (DIN VDE 0105-100) in impianti elettrici. Categoria "S" per impianti di commutazione e linee aeree. Utilizzabile anche durante precipitazioni atmosferiche. Con indicazione ottica ed acustica e dispositivo di auto-verifica.