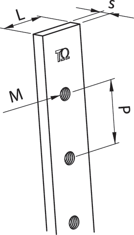
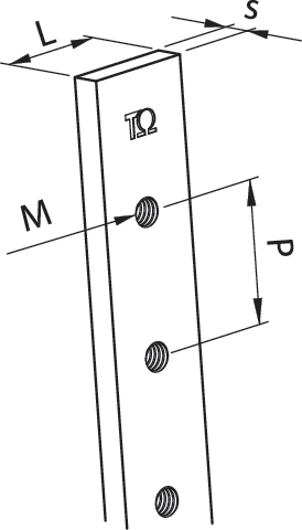
TEKNOMEGA SRL - TKGBRF1005 BARRA RAME 12X5 L1000 FILETTATA M5 P18

Accedi per visualizzare prezzi e disponibilità
Confezione
1 PZ
EAN
8050503310320
Codice prodotto
TKGBRF1005
Cod. produttore
BRF1005
Produttore
TKG
Barre filettate in rame, pronte all’uso, nessun impiego di utensili per la foratura, risparmio di tempo nel cablaggio. CARATTERISTICHE TECNICHE: • Barre in rame • Rame elettrolitico Cu-ETP 99,90% • Spigoli arrotondati • resistenza alla trazione : 250 N /mm² • resistività: 0,0172 Ω mm² / m • densità: 8,9 Kg / dm³


