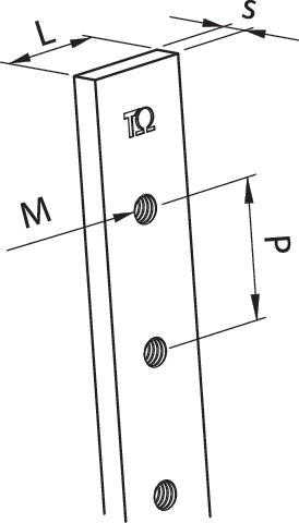
TEKNOMEGA SRL - TKGBRF1010 BARRA RAME 15X5 L1000 FILETTATA M6 P25

Accedi per visualizzare prezzi e disponibilità
Confezione
1 PZ
EAN
8050503310337
Codice prodotto
TKGBRF1010
Cod. produttore
BRF1010
Produttore
TKG
Barre filettate in rame, pronte all’uso, nessun impiego di utensili per la foratura, risparmio di tempo nel cablaggio. CARATTERISTICHE TECNICHE: • Barre in rame • Rame elettrolitico Cu-ETP 99,90% • Spigoli arrotondati • resistenza alla trazione : 250 N /mm² • resistività: 0,0172 Ω mm² / m • densità: 8,9 Kg / dm³


