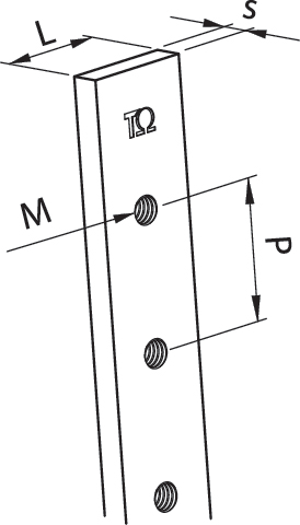
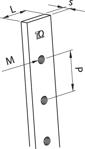
TEKNOMEGA SRL - TKGBRF1041 BARRA RAME 32X5 L2000 FILETTATA M6 P17,5

Accedi per visualizzare prezzi e disponibilità
Confezione
1 PZ
EAN
8050503310443
Codice prodotto
TKGBRF1041
Cod. produttore
BRF1041
Produttore
TKG
Barre filettate in rame, pronte all’uso, nessun impiego di utensili per la foratura, risparmio di tempo nel cablaggio. CARATTERISTICHE TECNICHE: • Barre in rame • Rame elettrolitico Cu-ETP 99,90% • Spigoli arrotondati • resistenza alla trazione : 250 N /mm² • resistività: 0,0172 Ω mm² / m • densità: 8,9 Kg / dm³


