TEKNOMEGA SRL - TKGCLP1700 CLIP MEGA SP14-20MM X TUBO D30-35MM

Accedi per visualizzare prezzi e disponibilità
Confezione
50 PZ
EAN
8050503313475
Codice prodotto
TKGCLP1700
Cod. produttore
CLP1700
Produttore
TKG
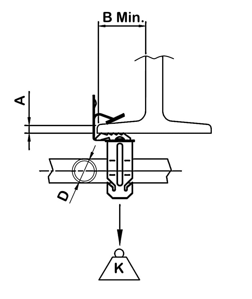
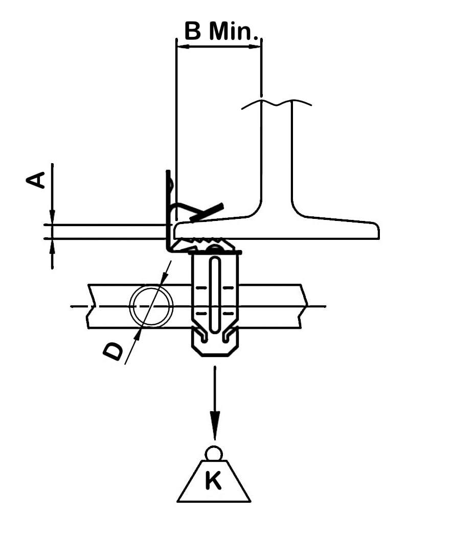
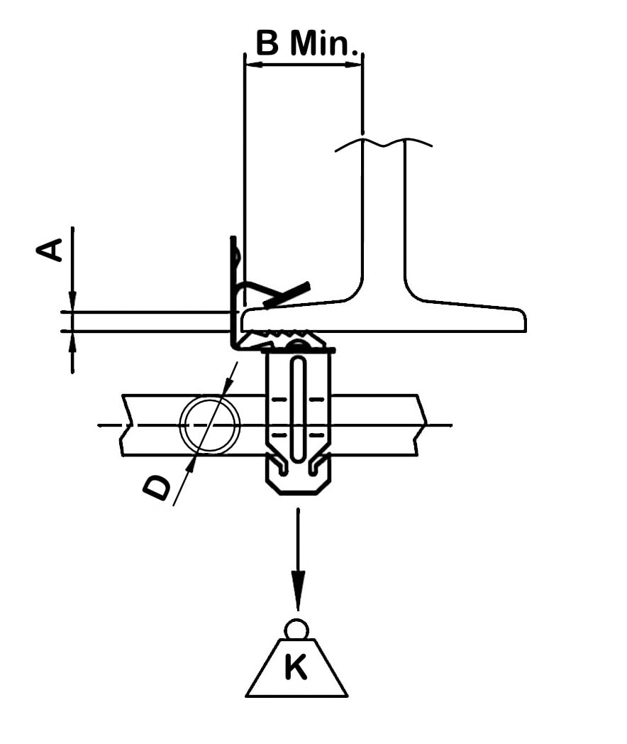
Clip di fissaggio con fissatubo in Acciaio armonico Ω CLIP, serie MEGA. La gamma di fissaggi rapidi Ω CLIP, rappresenta la soluzione ideale per connettere strutture metalliche, portanti e non, con la maggior parte degli elementi costituenti gli impianti sia elettrici che meccanici. RAPIDITÀ: il montaggio, semplice e veloce, rappresenta un notevole risparmio in termini di tempo offrendo all’installatore la possibilità di risparmiare fatica ma soprattutto denaro. GAMMA: una vasta gamma di referenze e di combinazioni che ben si adattano a tutte le problematiche tecniche. SICUREZZA E COMODITÀ: non è necessario realizzare alcun foro o, tantomeno, saldature sulla struttura metallica; non sono richiesti specifici utensili né specifiche abilità per la messa in opera di queste soluzioni. MODO D’IMPIEGO: l’installazione di tutti gli elementi Ω CLIP, è facile e rapida, un semplice colpo di martello o un “giro” di cacciavite sono le uniche operazioni richieste per creare un fissaggio solido ed affidabile. CARICHI: tutti gli elementi della gamma di fissaggio Ω CLIP, vengono testati e controllati a campione prima dell’imballo. I carichi indicati nelle tabelle, considerano un coefficiente di sicurezza 3 : 1. MATERIALE IMPIEGATO: acciaio armonico secondo norme DIN 17222(UNI-EN 10132-4); acciaio che, dopo il trattamento al quale viene sottoposto, acquisisce una durezza HRc 43 ÷ 50.


